TSC-70-G3
The Q-SYS TSC Series Gen 3 are high-performance network touch screen controllers native to Q-SYS. The TSC-70-G3 is a 7-inch, PoE-capable (power over Ethernet) device that supports a wide range of fully-customizable user control interface applications for any space.
Note: This topic provides an overview of the TSC-70-G3. For specifications and installation documentation, see the TSC-70-G3 product page on the QSC website.
- High performance 7-inch network touch screen controller native to the Q-SYS Platform
- Enhanced onboard processor with increased resolution and significantly improved screen transitions on all models
- Customizable RGB LED status indicators
- Integrated proximity sensor wakes the screen on approach while an ambient light sensor adjusts screen brightness
- Build intuitive and scalable UCIs in the same software program as your DSP and control programming for a streamlined design and deployment process
- Supports CSS-based styling letting users build more dynamic UCI themes and apply global styles across multiple UCIs
- UCI Controller is an alternative method of building UCIs from a template of control types to simplify deployment and scalability of multiple UCIs
- Supports Power over Ethernet to allow for power and data on a single cable for simple, single cable installation
- Supports landscape or portrait orientation when wall-mounted
- Optional table top mount accessory available
- Universal mounting options: Included accessories for mounting to US standard and European wall and junction boxes
These Inventory components are available for the TSC-70-G3:
Standard Components
- Status/Control (Touch Screen)
- Lightbar (TSC-G3, PS-TSCG3 Series)
- Sensors
- HID Keyboard
- HID Media
- HID Conferencing
USB Video Bridge
USB Audio Bridge
Q-SYS AV Bridging is a new licensed feature paradigm to the Q-SYS ecosystem. This new type of feature license allows flexibility in pricing and deployment by allowing Q-SYS to price the TSC-G3 competitively without the price of USB bridging baked in. If you don’t need bridging, you don’t need to pay for the license. If you do need bridging, you can pay for the license for each bridging device required.
To learn more about feature licensing in Q-SYS, see Licensing.
Note: By default, USB 2.0 connections are not supported for TSC Series Gen 3 USB video bridging. There are two possible orientations for the TSC side of a USB-C cable and currently only one orientation is supported for USB 3.0 connections. The supported orientation for USB 3.0 depends on the type of USB cable and/or adapter used. The simplest method to quickly determine the correct USB cable orientation is to deploy a video bridging design with USB 2.0 disabled (set the TSC’s USB 2.0 Support property to “Disabled”) then connect a USB 3.0 capable Host device to the TSC through the USB 3.0 cable and/or adapter that will be used. If the TSC status indicates it is “Compromised”, flip the cable connection at the TSC connector. Once the TSC is not in a Compromised state, USB 2.0 can be re-enabled (set the TSC’s USB 2.0 Support property to “Enabled”). For more information, see the USB Video Bridge topic.
Tip: For most USB-C cables, orientation 1 is seen while the cable is connected with the logo side facing the RJ45 connection. QSC recommends using a USB-C to USB-A cable for most host PCs. USB-C only hosts should then use a common USB-C to USB-A adapter.
Supported TSC-G3 Series Models
Q-SYS AV Bridging applies to the TSC-70-G3 and the TSC-101-G3. You will see new USB Video Bridge and USB Audio Bridge Inventory items for both touch screen controller models.
Licensing Requirements
Adding any of these components to the schematic will trigger a Q-SYS AV Bridging license requirement:
- 2ch Sound Card Input/Output
- 1ch Speakerphone Input/Output
- USB Video Bridge
- HID Conferencing
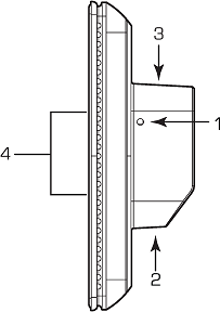
Front Panel
- Proximity sensor. Refer to the Sensors topic.
- Ambient light sensor. Refer to the Sensors topic.
- NFC antenna. Refer to the Sensors topic.
- 7 in. 1280 x 800 display
Rear Panel
- Docking magnet
- RJ45, PoE/+ in
- LAN LEDs
- Left: Link/Activity
- Right: Speed
- USB Type C
Note: By default, USB 2.0 connections are not supported for TSC Series Gen 3 USB video bridging. There are two possible orientations for the TSC side of a USB-C cable and currently only one orientation is supported for USB 3.0 connections. The supported orientation for USB 3.0 depends on the type of USB cable and/or adapter used. The simplest method to quickly determine the correct USB cable orientation is to deploy a video bridging design with USB 2.0 disabled (set the TSC’s USB 2.0 Support property to “Disabled”) then connect a USB 3.0 capable Host device to the TSC through the USB 3.0 cable and/or adapter that will be used. If the TSC status indicates it is “Compromised”, flip the cable connection at the TSC connector. Once the TSC is not in a Compromised state, USB 2.0 can be re-enabled (set the TSC’s USB 2.0 Support property to “Enabled”). For more information, see the USB Video Bridge topic.
Tip: For most USB-C cables, orientation 1 is seen while the cable is connected with the logo side facing the RJ45 connection. QSC recommends using a USB-C to USB-A cable for most host PCs. USB-C only hosts should then use a common USB-C to USB-A adapter.
- Exhaust vents
Profile
- Mounting point for wall-mount bracket
- Regulatory markings
- Model identification
- Programmable RGB LEDs. Refer to the Lightbar (TSC-G3, PS-TSCG3 Series) topic.
Product specifications and dimension drawings for the TSC-70-G3 can be found on the TSC-70-G3 product page on the QSC website.
